Square Shower Base Template
Square Shower Base Template
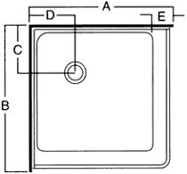
Square Shower Base Template For 36" Base
A = Back Wall Width 36"
B = Back Wall Width 36"
C = Drain Position From Back Corner 12"
D = Drain Position From Back Corner 12"
E = Width of Sill 2 1/2"
A = Back Wall Width 36"
B = Back Wall Width 36"
C = Drain Position From Back Corner 12"
D = Drain Position From Back Corner 12"
E = Width of Sill 2 1/2"






